您所在的位置: 首页 >>医院管理 >>专利展示 >>授权专利 >> 正文

专利展示

授权专利

【实用新型】一种重症监护室护理用流食喂养装置

发布时间:2022-11-20 浏览次数:
字号:
+-14

  公开(公告)号: CN215780025U

  摘要附图:

图片1.jpg

  标题: 一种重症监护室护理用流食喂养装置

  专利类型: 实用新型

  申请日: 2021-05-27

  公开(公告)日: 2022-02-11

  发明人: 贾春彦

  当前申请(专利权)人: 首都医科大学附属北京潞河医院

  IPC分类号: A61J9/00 | A61J15/00

  法律状态/事件: 授权

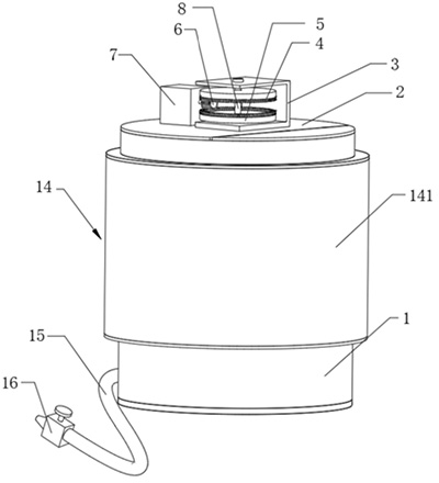
  技术功效: [0019]1.通过采用上述技术方案,通过电机可以带动正齿轮转动,进而带动其上下两侧的独一齿轮和第二端面齿轮往相反的方向转动,第一端面齿轮转动时可以带动与其固定连接的转轴转动进而可以带动其两侧的第二杆件在流食瓶内搅拌,第二端面齿轮转动时可以带动与其固定连接的空心轴转动进而可以带动其两侧的第一杆件在流食瓶内转动,由于第一端面齿轮和第二端面齿轮的转动方向相反,所以第二杆件和第一杆件在流食瓶内的搅拌方向也相反,这样可以使流食瓶内的食物长时间处于均匀状态,避免了设备中食物由于离析导致部分体积较大的食物沉积在设备底部,进一步避免了沉积的食物堵塞该设备的出食口。 [0020]2.通过采用上述技术方案,通过在第一杆件和第二杆件端部设置与流食瓶壁贴合的刮板,可以在转轴和空心轴转动时,将粘附在流食瓶内壁上的食物及时挂下去,避免了该设备在使用由于无法及时刮除内壁上的食物,而导致内壁上结垢影响设备使用的问题,进一步提高了该设备的实用性。

  摘要: 本实用新型公开了一种重症监护室护理用流食喂养装置,涉及流食喂养装置技术领域。其技术要点是:包括流食瓶,流食瓶一端设有瓶盖,瓶盖一端连接有U形支架,U形支架内在设有第一端面齿轮和第二端面齿轮,第一端面齿轮与第二端面齿轮之间啮合有正齿轮,正齿轮远离U形支架一端设有电机,第一端面齿轮内贯穿有转轴,转轴外套设有空心轴,且空心轴一端与第二端面齿轮固定连接,空心轴另一端的两侧连接有若干第一杆件,转轴的两侧连接有若干第二杆件。通过电机可以带动正齿轮转动,进而带动与其啮合的第一端面齿轮和第二端面齿轮往相反的方向转动,从而可以使第一杆件和第二杆件在流食瓶内将流食进行充分的搅拌,避免了流食在流食瓶中离析最后堵塞该设备的出食口。